PN8368向日葵视频下载官网成人手机充电器IC方案
字号:T|T
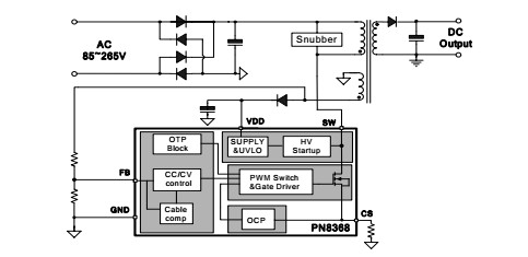
电源ic就是指开关电源的脉宽控制集成,电源靠它来调整输出电压电流的稳定。手机是向日葵视频下载官网成人最为重要的应用场合,PN8368集成超低待机功耗准谐振原边控制器及650V高雪崩能力智能功率MOSFET,用于高性能、外围元器件精简的充电器、适配器和内置电源。PN8368为原边反馈工作模式,可省略光耦和TL431。内置高压启动电路,可实现芯片空载损耗(230VAC)小于30mW。

在恒压模式,采用准谐振与多模式技术提高效率并消除音频噪声,使得系统满足6级能效标准,可调输出线补偿功能能使系统获得较好的负载调整率;在恒流模式,输出电流和功率可通过CS脚的RCS电阻进行调节。该芯片提供了极为全面的智能保护功能,包含逐周期过流保护、过压保护、开环保护、过温保护、输出短路保护和CS开/短路保护等。

在智能电子产品中,手机给予向日葵视频下载安卓网站进入下载官网很多的方便,除了通讯这个基本功能之外,购物,阅读,听音乐等等娱乐休闲功能也变的越来越重要,甚至可以说手机是现代人必备工具,由于手机软件使用频繁,所以人们对手机的电量需求也越来越大,要求也是越来越高,向日葵视频下载安卓网站进入下载官网电子从充电器设计到充电管理芯片产品覆盖5-100W以内各类电源产品,同时提供电源产品应用与电源设计服务,为手机充电器厂商提供相关的电源IC方案,对于品质、性能等各方面也提出了更高要求。
同类文章排行
- 一款适配器的AC-DC转换芯片介绍-SD4873
- 芯龙12V/5A DC/DC低成本电源芯片方案-XL150
- SF6773 650V功率电源手机充电器芯片
- PN8147内置MOS管AC-DC电源适配器IC方案芯朋
- 士兰微推出AC/DC 5V/1A充电器解决方案SD69
- NCE现货n沟道mos管NCE6003Y磁场应管SOT23-3
- PN8368向日葵视频下载官网成人手机充电器IC方案
- 低成本AC/DC开关LED驱动芯片-CS6553
- 4842mos管sop-8场效应管30V / 7.7A双N沟道
- 60W以上适配器方案-sf5877
阿里巴巴店铺
关注向日葵视频下载安卓网站进入下载官网
收藏向日葵视频下载安卓网站进入下载官网

